XJS ( X27 ) 1975 - 1996 3.6 4.0 5.3 6.0

How do I Refit 'Marelli' Ignition Modules?

Thread Tools
 
Search this Thread
 
Old Aug 11, 2016 | 12:34 PM
  #1  
orangeblossom's Avatar
Thread Starter
|
Veteran Member
Joined: Feb 2013
Posts: 17,809
Likes: 3,945
Default How do I Refit 'Marelli' Ignition Modules?

Hi Guys

I've got my Re-cored Rad coming back Tomorrow (with a bit of luck) and after I have put that in and refitted the 'Closing Panel' one of the next jobs is to refit the 'Marelli' Ignition Modules on top of the 'Closing Panel'

Do these Ignition Modules have to make 'Metal to Metal Contact' with the 'Closing Panel' and do I need to use any special sort of Conductive Compound to fit them, or just bolt them on?

If I need any special Conductive Compound, please could you give me a link.




Marelli Ignition Module
Do I need any special conductive compound to fit them (There are two of these on the Car)
 
Reply
Old Aug 11, 2016 | 12:43 PM
  #2  
Daim's Avatar
Veteran Member
Joined: May 2014
Posts: 5,906
Likes: 2,182
From: Bremen, Germany
Default

On my former Volvos with ignition modules, you need to make a contact between module and carrier, as the carrier is a heat dispenser. So a heat transfer paste (copper paste etc.) should be fitted. Mine had a paste between them too...
 
Reply
Old Aug 11, 2016 | 02:33 PM
  #3  
orangeblossom's Avatar
Thread Starter
|
Veteran Member
Joined: Feb 2013
Posts: 17,809
Likes: 3,945
Default

Hi Daim

Would Copper grease be Ok?
 
Reply
Old Aug 11, 2016 | 02:36 PM
  #4  
Daim's Avatar
Veteran Member
Joined: May 2014
Posts: 5,906
Likes: 2,182
From: Bremen, Germany
Default

Should do. You don't want loads. Just a .ittle smear.
 
Reply
Old Aug 11, 2016 | 03:09 PM
  #5  
orangeblossom's Avatar
Thread Starter
|
Veteran Member
Joined: Feb 2013
Posts: 17,809
Likes: 3,945
Default

Originally Posted by Daim
Should do. You don't want loads. Just a .ittle smear.
Cheers Daim

That's Brilliant, I will give it a try.
 
Reply
Old Aug 11, 2016 | 09:04 PM
  #6  
Doug's Avatar
Veteran Member
Liked
Loved
Community Favorite
Joined: Mar 2008
Posts: 25,520
Likes: 11,712
From: Pacific Northwest USA
Default

I person I trust says this stuff is the cat's meow for automotive modules

https://www.amazon.com/Arctic-Silver.../dp/B000OGX5AM

Never tried, personally. But I'll probably get some

Cheers
DD
 
Reply
Old Aug 12, 2016 | 01:59 AM
  #7  
warrjon's Avatar
Veteran Member
Joined: May 2010
Posts: 4,638
Likes: 2,583
From: Vic Australia
Default

I would not use copper grease, you need to use a heat sink compound. If you don't you could fry the modules if they can not dissipate the heat to the rad support.

The link Doug provided is what you should use.
 
Reply
Old Aug 12, 2016 | 02:43 AM
  #8  
orangeblossom's Avatar
Thread Starter
|
Veteran Member
Joined: Feb 2013
Posts: 17,809
Likes: 3,945
Default

Originally Posted by Doug
I person I trust says this stuff is the cat's meow for automotive modules

https://www.amazon.com/Arctic-Silver.../dp/B000OGX5AM

Never tried, personally. But I'll probably get some

Cheers
DD
Hi Doug

Cheers, I will get some but out of interest what did you use.
 
Reply
Old Aug 12, 2016 | 02:53 AM
  #9  
orangeblossom's Avatar
Thread Starter
|
Veteran Member
Joined: Feb 2013
Posts: 17,809
Likes: 3,945
Default

Originally Posted by warrjon
I would not use copper grease, you need to use a heat sink compound. If you don't you could fry the modules if they can not dissipate the heat to the rad support.

The link Doug provided is what you should use.
Hi Warrjon

Cheers but the Modules don't appear to be sitting on a Heatsink like a Cpu would do in a Computer.

They just bolt onto the Closing Panel, which as far as I can tell has no heat dissipation properties whatsoever.

If they sat on a bar of Copper, then I could understand it but they just bolt onto the Closing Panel.

Just Curious that's all and wondering what others have used if anything, when refitting these Modules.
 
Reply
Old Aug 12, 2016 | 03:59 AM
  #10  
warrjon's Avatar
Veteran Member
Joined: May 2010
Posts: 4,638
Likes: 2,583
From: Vic Australia
Default

Originally Posted by orangeblossom
They just bolt onto the Closing Panel, which as far as I can tell has no heat dissipation properties whatsoever..
They bolt to the radiator top support, this will provide a considerable amount of heat sinking
 
Reply
Old Aug 12, 2016 | 04:16 AM
  #11  
baxtor's Avatar
Veteran Member
10 Year Member
Liked
Loved
Community Favorite
Joined: Jun 2013
Posts: 2,118
Likes: 1,374
From: Australia
Default

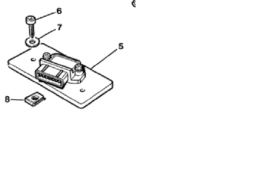
There should be thermal paste between the aluminium heat sink (5) and the module itself but I do not recall any paste between the heat sink and the top radiator panel. Paste should be available at most computer/electronics stores.
 
Attached Thumbnails How do I Refit 'Marelli' Ignition Modules?-module.png  

Last edited by baxtor; Aug 12, 2016 at 04:46 AM.
Reply
Old Aug 12, 2016 | 05:27 AM
  #12  
orangeblossom's Avatar
Thread Starter
|
Veteran Member
Joined: Feb 2013
Posts: 17,809
Likes: 3,945
Default

Originally Posted by warrjon
They bolt to the radiator top support, this will provide a considerable amount of heat sinking
Cheers Warrjon

Thanks for your Help.
 
Reply
Old Aug 12, 2016 | 05:32 AM
  #13  
orangeblossom's Avatar
Thread Starter
|
Veteran Member
Joined: Feb 2013
Posts: 17,809
Likes: 3,945
Default

Originally Posted by baxtor
There should be thermal paste between the aluminium heat sink (5) and the module itself but I do not recall any paste between the heat sink and the top radiator panel. Paste should be available at most computer/electronics stores.
Hi Baxtor

That is interesting

I'm just starting to wonder if the Aluminium Heat sink that you mentioned, is already attached to the Ignition Modules?

Can you tell from the Photo?

 
Reply
Old Aug 12, 2016 | 06:12 AM
  #14  
Daim's Avatar
Veteran Member
Joined: May 2014
Posts: 5,906
Likes: 2,182
From: Bremen, Germany
Default

Originally Posted by orangeblossom
Hi Baxtor

That is interesting

I'm just starting to wonder if the Aluminium Heat sink that you mentioned, is already attached to the Ignition Modules?

Can you tell from the Photo?

Yes it is... As I said, they need to sink the hat into the metal plate (not the rad bracket) underneath. Cooper Paste CAN be enough... If you haven't got anything else in your reach.
 
Reply
Old Aug 12, 2016 | 06:23 AM
  #15  
baxtor's Avatar
Veteran Member
10 Year Member
Liked
Loved
Community Favorite
Joined: Jun 2013
Posts: 2,118
Likes: 1,374
From: Australia
Default

Originally Posted by orangeblossom
Hi Baxtor

That is interesting

I'm just starting to wonder if the Aluminium Heat sink that you mentioned, is already attached to the Ignition Modules?

Can you tell from the Photo?

That is only the module in your pic. The heat sink is somewhat larger than the module and a simple rectangle. There are traces of paste in that pic so maybe the heat sinks are still attached to radiator panel. Module attaches to heat sink with machine screws and then heating attaches to panel with self tappers into speed nuts.
 

Last edited by baxtor; Aug 12, 2016 at 06:27 AM.
Reply
Old Aug 12, 2016 | 08:44 AM
  #16  
orangeblossom's Avatar
Thread Starter
|
Veteran Member
Joined: Feb 2013
Posts: 17,809
Likes: 3,945
Default

Originally Posted by baxtor
That is only the module in your pic. The heat sink is somewhat larger than the module and a simple rectangle. There are traces of paste in that pic so maybe the heat sinks are still attached to radiator panel. Module attaches to heat sink with machine screws and then heating attaches to panel with self tappers into speed nuts.
Hi Baxtor

You Nailed It!

I've got Two closing panels one of which I could not find up until just now, buried under Jag Spares in the Shed.

Since this Car has been out of action for the best part of 17 years, I mistakenly thought both Panels were the same. (but they are not)

The one that I was trying to fit was from a 'Lucas Car' that doesn't have that type of ignition module.

Unlike the one that I just found that has Two big Aluminium Heat Sinks attached by those screws you mentioned.

And you were also right about the Residue of the Thermal Paste on the Ignition Modules.

The Rad has also turned up now, so progress can be made.

Thanks for your help.

OB
 
Reply
Old Aug 12, 2016 | 10:22 PM
  #17  
warrjon's Avatar
Veteran Member
Joined: May 2010
Posts: 4,638
Likes: 2,583
From: Vic Australia
Default

You do not need thermal compound between the aluminium and rad support, only between the module and the aluminium. Make sure the surfaces are clean, use Isopropyl Alcohol to clean both surfaces, and apply a liberal amount of compound to one surface, you want it ooze out slightly.

I would not use copper grease, it may work, but 35years of fixing electronics I have not used copper grease. I would use the correct compound.

These early ignition modules DO NOT have thermal protection like the new ones do, so if you do overheat it you will be replacing it.

I do not know if the Marelli ECU varies the dwell time at low RPM (probably not) so the modules will run hottest at low RPM.
 
Reply
Old Aug 15, 2016 | 06:26 AM
  #18  
orangeblossom's Avatar
Thread Starter
|
Veteran Member
Joined: Feb 2013
Posts: 17,809
Likes: 3,945
Default

Originally Posted by warrjon
You do not need thermal compound between the aluminium and rad support, only between the module and the aluminium. Make sure the surfaces are clean, use Isopropyl Alcohol to clean both surfaces, and apply a liberal amount of compound to one surface, you want it ooze out slightly.

I would not use copper grease, it may work, but 35years of fixing electronics I have not used copper grease. I would use the correct compound.

These early ignition modules DO NOT have thermal protection like the new ones do, so if you do overheat it you will be replacing it.

I do not know if the Marelli ECU varies the dwell time at low RPM (probably not) so the modules will run hottest at low RPM.
Hi Warrjon

Do I need Thermal Paste that Conducts Heat but NOT Electricity

Or Thermal Paste that Conducts Heat AND Electricity?
 

Last edited by orangeblossom; Aug 15, 2016 at 08:47 AM.
Reply
Old Aug 15, 2016 | 11:33 AM
  #19  
Daim's Avatar
Veteran Member
Joined: May 2014
Posts: 5,906
Likes: 2,182
From: Bremen, Germany
Default

Just heat!
 
Reply
Old Aug 15, 2016 | 07:56 PM
  #20  
Steve M's Avatar
Veteran Member
10 Year Member
Liked
Loved
Community Favorite
Joined: Jul 2012
Posts: 6,216
Likes: 3,748
From: Wiltshire, UK
Default

Was thermal heat sink paste invented before or after the XJS?
Pretty sure that, if it was needed, they would have just used bacon fat.
 
Reply



All times are GMT -5. The time now is 02:17 AM.