XK8 / XKR ( X100 ) 1996 - 2006

Rattle from rear of car

Thread Tools
 
Search this Thread
 
Old Apr 23, 2025 | 04:31 AM
  #1  
KMBN's Avatar
Thread Starter
|
Junior Member
Joined: Oct 2024
Posts: 9
Likes: 1
From: United Kingdom
Default Rattle from rear of car

Can someone please help me locate this metallic rattle sound while driving. It's from the rear

https://m.youtube.com/shorts/55_w1epJTl8

I have read it could be the internals of the rear shocks

Kind regards
 
Reply
Old Apr 23, 2025 | 07:00 AM
  #2  
Jon89's Avatar
Veteran Member
15 Year Member
Liked
Loved
Community Favorite
Joined: Jan 2009
Posts: 13,074
Likes: 4,722
From: Raleigh, NC
Default

In my wife's 2006 XK8, it was indeed a broken internal valve in the right rear shock. New rear Bilstein shocks solved the issue (way back in October 2014). No rattling issues since....
 
Reply
Old Apr 24, 2025 | 04:41 AM
  #3  
Robin Smith's Avatar
Member
5 Year Member
Joined: Mar 2021
Posts: 54
Likes: 11
From: Devon
Default

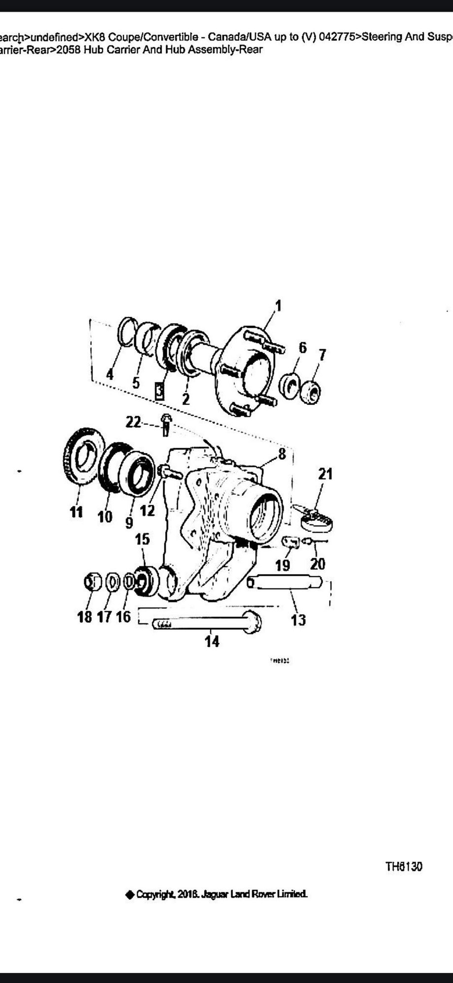
Might be pivot pin taper bearings in rear hub assembly.
 
Reply
Old Apr 24, 2025 | 07:52 AM
  #4  
Zspot's Avatar
Senior Member
Liked
Loved
Joined: Oct 2024
Posts: 110
Likes: 41
Default

Originally Posted by Robin Smith
Might be pivot pin taper bearings in rear hub assembly.
Agreed. I just had my rear taper bearings replaced. My symptom wasn’t a rattling sound, but more of a loose wiggle from the back end every time I hit a bump at higher speeds.

FYI, the pivot pin was impossible to find, so luckily we were able to reuse it and just replace the taper bushings and sleeve with new, and the problem was solved. There are two pivot bushings on each hub assembly. The diagrams only show one. Referencing numbers 13, 14, 15 in the diagram.

 
Reply
Related Topics
Thread
Thread Starter
Forum
Replies
Last Post
pappap
XK8 / XKR ( X100 )
7
Feb 16, 2025 02:56 PM
RoonieQ
F-Pace (X761) / C-X17
1
Apr 10, 2023 05:04 AM
JDog
XJ XJ6 / XJ8 / XJR ( X350 & X358 )
9
Dec 8, 2022 03:57 PM
ukdude
XK8 / XKR ( X100 )
9
Mar 7, 2015 07:38 AM
stanleyh757
Wheels / Tires, Suspension & handling
0
Nov 26, 2010 03:14 PM

Currently Active Users Viewing This Thread: 1 (0 members and 1 guests)
 



All times are GMT -5. The time now is 10:28 PM.