XJ40 ( XJ81 ) 1986 - 1994

Gear change solenoid question

Thread Tools
 
Search this Thread
 
Old Jul 22, 2019 | 10:37 AM
  #1  
XJ6Paul's Avatar
Thread Starter
|
Senior Member
10 Year Member
Liked
Loved
Community Favorite
Joined: Jun 2011
Posts: 299
Likes: 90
From: Atlanta, Georgia
Default Gear change solenoid question

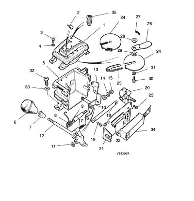
So I was removing the ski slope and radio in my car and had to remove the gearshift gate as it was blocking removal of the radio/hvac unit. When moving the shifter around, the gear change latch CCC5424 (part #3 in the first diagram) came out and the plastic pieces attached to it broke. My questions are,should the latch have a slight bend to it, and what is the black plastic piece that has broken off? I can't find it in either parts diagram for the solenoid or the gear change control. As a temporary measure, will the car crank if just manually press on the solenoid while cranking?

Thanks for any input.






 
Reply
Old Jul 22, 2019 | 10:55 AM
  #2  
XJ6Paul's Avatar
Thread Starter
|
Senior Member
10 Year Member
Liked
Loved
Community Favorite
Joined: Jun 2011
Posts: 299
Likes: 90
From: Atlanta, Georgia
Default

Photo of the gear change controls after latch removed.
 
Reply
Old Oct 3, 2019 | 12:05 PM
  #3  
XJ6Paul's Avatar
Thread Starter
|
Senior Member
10 Year Member
Liked
Loved
Community Favorite
Joined: Jun 2011
Posts: 299
Likes: 90
From: Atlanta, Georgia
Default

Still dealing with this issue unfortunately.

So I bought a used replacement gear selector "housing" to swap out with my broken one, and I had a couple of questions if anyone can help. First photo shows the original (broken) housing on the left and replacement on the right.

At the front of the housing there is a cylindrical arm or "plunger" that fits into the gear change solenoid. I assume the arm moves a little bit when you move the gear selector.

Just from test fitting, the arm it is a very tight fit in the solenoid, to the point I'm wondering if it will be free enough to function. Any thoughts on how this is supposed to function?

And does any one know if a spring or anything fits between the arm and the solenoid? I found a small spring, like from a retractable pen, in the area but the parts diagrams don't seem to show anything.

Last question, is there a way to bypass this gear selector solenoid if the car won't crank once I reassemble all this? Thanks.




 
Reply
Old Oct 3, 2019 | 02:46 PM
  #4  
motorcarman's Avatar
Joined: Dec 2009
Posts: 13,741
Likes: 9,683
From: Wise County,TX
Default

When I worked at the dealer I found that the damage you have was because the cars that came in like that were bought from a car AUCTION.

Many times the battery would die and the car lot 'jockeys' did not know about the little plastic 'star' plug (or did not care) and simply learned that if you grab the selector lever, QUICKLY AND POWERFULLY yank the lever into reverse, the plastic housing breaks and the car is free to roll!!!!!!!!!!

Then they could get the car into an aisle to get to the shop or auction floor.

bob
 
Reply
Old Oct 4, 2019 | 12:16 PM
  #5  
XJ6Paul's Avatar
Thread Starter
|
Senior Member
10 Year Member
Liked
Loved
Community Favorite
Joined: Jun 2011
Posts: 299
Likes: 90
From: Atlanta, Georgia
Default

@motorcarman, I'm not sure how the damage occurred, but your experience would not be surprising.

So I put everything back together, and as expected that arm in the solenoid (dbc11071) seems to have little or no movement. It does not seem to fit correctly. Tried cranking and nothing happens, whether in park or neutral. I charged the battery overnight to make sure it's got enough juice to crank and will try again tonight. It was showing just over 12 volts before charging.

I need to educate myself on this solenoid and the related components and review the wiring diagram. So here's a quick chronology if anyone might have some suggestions, including on how to temporarily bypass the solenoid.

I've had no issues starting or shifting the car since I've owned it. At some point maybe a year ago I removed the wooden shift surround to have it refinished and I seem to recall the arm of that solenoid sitting loose in the area around the shifter. I didn't know what it was at the time and left it there. Perhaps it had already been bypassed by a PO?

A couple of months ago I removed the radio along with the ski slope, etc to fix the radio. I noted the damage to the shifter housing at that time and the gear change latch (part #3 in the first diagram in Post #1) came loose and fell out. The car wouldn't crank at all. I inserted a short screwdriver into the opening on the solenoid and that seemed to ground it, and the car cranked up. That only worked on the one occasion.

Then I obtained the replacement shifter housing and installed it and am still getting nothing when cranking. I will also start checking fuses. I was getting Fuse 1 and Fuse 3 when pushing the VCM button.
 
Reply
Old Oct 4, 2019 | 02:30 PM
  #6  
motorcarman's Avatar
Joined: Dec 2009
Posts: 13,741
Likes: 9,683
From: Wise County,TX
Default

The solenoid is simply the selector lever LOCK... It has NOTHING to do with starting the engine.
I keeps you from selecting REVERSE or DRIVE unless you apply the foot brake.

Remember back in the late 1980s when people were driving their cars into swimming pools and claiming that the had their foot on the BRAKE, WELL this is the mandate from the gov't to keep you from doing that.

The Park micro switch allows the key to be removed and the TRANSMISSION ROTARY SWITCH disables the starter if the selector is NOT in PARK or NEUTRAL.
The V12 ALSO has a LINEAR switch in the selector lever assy.

bob
 

Last edited by motorcarman; Oct 4, 2019 at 02:33 PM.
Reply
Old Oct 12, 2019 | 12:18 PM
  #7  
XJ6Paul's Avatar
Thread Starter
|
Senior Member
10 Year Member
Liked
Loved
Community Favorite
Joined: Jun 2011
Posts: 299
Likes: 90
From: Atlanta, Georgia
Default

Thanks for your input Bob, I managed to resolve the non starting issue. The microswitch that the gear shifter rests against while in park was not being triggered. The parts manual lists this as "side plate and microswitch," part number MMD4940AA
Once I had the j gate properly installed it creates enough pressure so the contact at the switch is made and she starts right up

I circled the switch in the photo. I noticed the switch on the original housing I removed was in a different location, further down on the side and it makes contact with the shift cable linkage.



Microswitch circled. Original housing on left, replacement in right.


 
Reply
Related Topics
Thread
Thread Starter
Forum
Replies
Last Post
xjrwithproblems
XK8 / XKR ( X100 )
28
Aug 16, 2023 08:52 AM
Marc-XJ12
XJ XJ12 ( X305 )
6
May 14, 2018 01:04 PM
doogledee
XK8 / XKR ( X100 )
13
May 13, 2017 08:12 AM
Soldierfc
XK / XKR ( X150 )
4
Oct 8, 2016 05:53 PM
glenonoka
XF and XFR ( X250 )
1
Jul 20, 2016 05:57 PM

Currently Active Users Viewing This Thread: 1 (0 members and 1 guests)
 



All times are GMT -5. The time now is 01:30 AM.